天涯要回来了?
3月1日,天涯社区官方微博发布公告,称将采取引入战略投资、恢复广告业务、启动社交电商平台及大力开展会员增值服务等方式筹措资金,在确保数据安全合规的前提下,在2个月内,即5月1日前恢复天涯社区访问。

近日,“天涯被申请破产”事件一度引发关注,对此,天涯社区创始人、董事长邢明曾回应称,该事件是误读,并不意味着天涯将走向破产。在最新的通告中,天涯社区也表示,该案件是公司遇到资金困难后面临的正常法律诉讼,并不会对天涯重启构成实质性的影响。
去年4月1日,天涯社区发布公告称,将于近期进行技术升级和数据重构,在此期间平台将无法访问。此后,截至目前天涯社区仍无法访问。去年5月底,天涯社区公开回应,称公司确实遇到了资金流动性困难。由于资金流动性困难,这几年累计拖欠的电信IDC费用已到了最后无法协调协商的状态,加上天涯社区也发现了一些平台自身的技术问题需改进,需要进行技术升级、数据重构及产品瘦身等,这将大幅降低电信费用及优化用户体验,有利于后续的可持续发展。因此,天涯社区无奈暂停了访问服务。
天涯社区公布重启进度:将于5月1日前恢复访问
3月1日晚间,天涯社区微博发布《关于天涯社区业务重启、网络平台恢复访问进度及新天涯计划的公告》。
公告称,将采取引入战略投资、恢复广告业务、启动社交电商平台及大力开展会员增值服务等方式筹措资金,在确保数据安全合规的前提下,在2个月内,即5月1日前恢复天涯社区访问。
天涯社区恢复访问后,将启用新的国际域名tianya.net,加强面向海外华人的中文网络社区服务,进一步夯实“全球华人网上家园”的定位。
公告还称,将启动以天涯社区最初的tianyaclub.com域名为品牌的“全球旅行与时尚消费社交平台”,为尊享会员提供会员制电商服务,结合海南自由贸易港的供应链优势,打造线上版的Costco,该平台1.0版将在1个月内推出。
公告表示,会员增值服务是未来天涯的重点业务。天涯计划从现在开始发展一批高级会员,在恢复访问后的天涯社区平台上开辟天涯神贴付费专区,提供更为全面、完整、原汁原味的天涯神贴服务,并动态更新。另外,天涯还将推出一对一专享数据下载与存储服务。从公告内容来看,该两项增值服务目前收费价格为99元、299元。
近日因“被申请破产”事件引关注
近日,“天涯被申请破产”事件引发关注。
2月26日,天眼查资料显示,天涯社区网络科技股份有限公司新增一则破产审查案件,申请人为张某,经办法院为海南省海口市中级人民法院。

随后,该消息引发关注。对此,据媒体消息,天涯社区创始人、董事长邢明回应记者称,“天涯‘破产’事件是误读,任何债权人都可以提出破产申请,法院目前只是受理,并不意味着天涯将走向破产。”
据悉,该案实际为一位员工20万元左右的欠薪问题,法院已展开听证会交流,邢明称这类事件可以通过法律程序化解。
而在最新的公告中,天涯社区也表示,该案件是公司遇到资金困难后面临的正常法律诉讼,并不会对天涯重启构成实质性的影响。天涯社区也在努力地进行债务重组,有信心将公司的债务总额降到1个亿以内。
曾挂牌新三板
天涯社区背后实体为天涯社区网络科技股份有限公司。天眼查显示,天涯社区网络科技股份成立于1999年,注册资本9300万元。
作为知名的内容创作和知识分享的社交平台,天涯社区注册用户曾超过1.3亿。
天涯社区网络科技股份有限公司2015年8月曾在新三板挂牌,彼时公司员工超过700人。
天涯社区在新三板挂牌期间,已出现收入下滑、持续亏损、现金流为负等问题。2016年,天涯社区实施增发,拟募集资金5400万元至2.1亿元。但天涯社区在未履行备案程序的情况下,提前将部分认购对象的认购款用于支付员工工资、电信托管费、光纤费等。
天涯社区2018年4月宣布,基于公司业务发展需要及长期战略发展规划,并综合考虑挂牌维护成本、后续投资机构引入估值等,拟申请新三板摘牌。2019年4月正式终止挂牌。
公开财务数据显示,2013年至2016年,天涯社区便处于持续亏损中,4年累计亏损超1亿元。
去年4月1日,天涯社区曾发布公告称,将进行技术升级和数据重构,在此期间平台将无法访问。截至目前,天涯社区还未重启访问。
为重启天涯社区,前天涯社区执行总编宋铮曾发起“七天七夜,重启天涯”直播义卖活动,希望通过直播带货的方式筹集300万元资金,以支付电信机房的费用。活动得到了大量网友和天涯前员工的支持和参与。天涯社区最新公告显示,该活动共筹得资金158922.61元(目前天涯社区及电信公司未收到该款项)。
去年5月,天涯社区发布公告,表示公司遇到了资金流性困难。坦言公司这几年累计拖欠的电信IDC费用已到了最后无法协调协商的状态,加上天涯社区也发现了一些平台自身的技术问题需改进,需要进行技术升级、数据重构及产品瘦身等,为了降低电信费用、优化用户体验,以及后续的可持续发展。天涯社区暂停了访问服务。
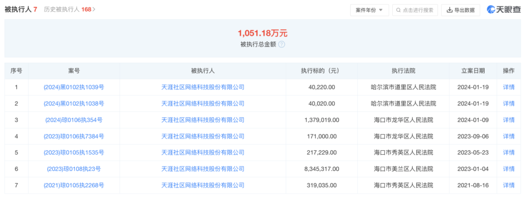
天眼查最新数据显示,目前,天涯社区累计被执行总金额已降至逾1000万元,此前该项数据曾超过1亿元。


